Trojcestný ventil je kľúčovým prvkom v mnohých hydraulických, vykurovacích a klimatizačných systémoch. Jeho primárnou funkciou je efektívna kontrola prietoku média, ako je voda, olej alebo plyn, medzi tromi rôznymi pripojovacími portami. V závislosti od svojho typu môže trojcestný ventil spájať dva prúdy média do jedného (miešací trojcestný ventil) alebo deliť jeden prúd na dva samostatné (rozdeľovací trojcestný ventil).
Trojcestné ventily nachádzajú široké uplatnenie v inštaláciách, kde je nevyhnutná presná regulácia teploty, tlaku alebo prietoku média. Ich konštrukcia umožňuje plynulé a efektívne riadenie pohybu kvapalín alebo plynov v zložitých systémoch, čo prispieva k optimalizácii celého systému. Tieto ventily sú často neoddeliteľnou súčasťou väčších zariadení používaných vo vykurovacích systémoch, ktoré nachádzajú uplatnenie aj v rodinných domoch.
Vo všeobecnosti má trojcestný ventil široké využitie v rôznych priemyselných odvetviach a v domácich inštaláciách ústredného kúrenia. Jeho hlavná úloha spočíva v regulácii smeru prietoku média, čo umožňuje precízne riadenie hydraulických alebo tepelných procesov.

Pripojenie a funkcia trojcestného ventilu
Pripojenie trojcestného ventilu umožňuje efektívne riadenie rozdelenia alebo miešania prúdov, napríklad teplej a studenej vody. Táto funkcia je kľúčová najmä vo vykurovacích systémoch, kde je dôležité udržiavať správnu teplotu v rôznych zónach budovy.
Montáž trojcestného ventilu v inštalácii ústredného kúrenia (ÚK) prispieva k optimalizácii prevádzky vykurovacích systémov, čo vedie k úsporám energie a zlepšeniu prevádzkovej účinnosti v obytných budovách. V klimatizačných systémoch pomáhajú trojcestné ventily presne prispôsobiť teplotu a prietok vzduchu, čím sa zvyšuje komfort používateľov. Preto sa často používajú v moderných inštaláciách, kde automatizácia a flexibilita prevádzky zohrávajú zásadný význam.
Správne nastavenie trojcestného ventilu je nesmierne dôležité pre správne fungovanie celej inštalácie. Zabezpečuje nielen správny prietok média, ale aj minimalizuje riziko poškodenia a porúch systému. Preto je v priemyselných aj domácich inštaláciách kľúčové správne použitie a nastavenie trojcestného ventilu.
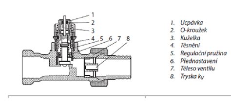
Konštrukcia trojcestného ventilu
Konštrukcia trojcestného ventilu je založená na troch hlavných portoch, ktoré umožňujú prietok média rôznymi smermi. Kľúčovým prvkom v konštrukcii je vnútorný mechanizmus, ktorý riadi prietok média medzi týmito portami, čo umožňuje presné riadenie smeru a množstva prietoku. Z vonkajšej strany má ventil tri pripojovacie hrdlá, ktoré môžu mať rôzne priemery.
Konštrukcia miešacieho trojcestného ventilu býva zvyčajne zložitejšia, pretože musí účinne kombinovať dva rôzne prúdy média, aby sa dosiahla jednotná teplota alebo iné požadované parametre. Tieto ventily sú vybavené špeciálnymi vnútornými kanálmi a tryskami, ktoré zabezpečujú rovnomerné miešanie médií. V prípade rozdeľovacích ventilov je konštrukcia o niečo jednoduchšia, ale stále musí zohľadňovať presné riadenie prietoku pre spoľahlivú prevádzku v rôznych prevádzkových podmienkach.
Všeobecne je konštrukcia trojcestného ventilu navrhnutá s ohľadom na trvanlivosť a spoľahlivosť, čo je kľúčové vzhľadom na ich použitie v systémoch kritického významu, ako sú vykurovacie, klimatizačné alebo priemyselné inštalácie.

Fungovanie trojcestného ventilu
Fungovanie trojcestného ventilu je založené na kontrole prietoku média medzi tromi portami. V závislosti od polohy vnútorného riadiaceho prvku môže byť médium smerované do jedného z dvoch výstupov alebo miešané v príslušných pomeroch.
Ako funguje trojcestný ventil?
Vo vnútri trojcestného ventilu dochádza k otáčaniu vretena alebo gule, ktoré menia cestu prietoku média. Keď je vreteno v jednej polohe, médium preteká prvým výstupom; v inej polohe je prietok smerovaný do druhého výstupu. V prípade miešacieho ventilu pohyb vretena umožňuje spojenie dvoch prúdov média do jedného, čo umožňuje presnú reguláciu teploty alebo tlaku.
Fungovanie trojcestného ventilu je kľúčové v systémoch, kde je potrebná dynamická zmena smeru prietoku alebo miešanie média.
TXV - 3D animation
Ovládanie a nastavenie trojcestného ventilu
Ovládanie trojcestného ventilu môže byť realizované niekoľkými spôsobmi, v závislosti od špecifík systému. V jednoduchých inštaláciách sa používa ručné ovládanie pomocou páky alebo otočného gombíka. V moderných systémoch sa však čoraz častejšie využíva elektronický trojcestný ventil, ktorý poskytuje vyššiu presnosť.
Elektronický trojcestný ventil je vybavený elektrickým pohonom, ktorý automaticky reguluje polohu vretena ventilu podľa riadiacich signálov. Aby trojcestný ventil pracoval optimálne, je kľúčové jeho správne nastavenie, najmä v kontexte inštalácie ústredného kúrenia (ÚK). Regulácia teploty v trojcestnom ventile sa uskutočňuje presným nastavením polohy vretena, čo umožňuje kontrolovať pomer miešania teplej a studenej vody.
Nastavenie trojcestného ventilu by malo byť prispôsobené špecifikám inštalácie. V inštalácii ÚK s trojcestným ventilom je dôležité nastaviť ventil tak, aby zabezpečoval stabilnú a optimálnu teplotu v celom systéme.
Špeciálne typy trojcestných ventilov
Trojcestný ventil s termostatom (termostatický ventil)
Trojcestný ventil s termostatom, známy tiež ako termostatický ventil, je špeciálny druh ventilu, ktorý automaticky reguluje teplotu média (napr. vody) v systéme. Vďaka vstavanému termostatu presne riadi miešanie teplej a studenej vody, čo umožňuje udržiavať stálu, nastavenú teplotu v inštalácii.
Tento typ ventilu sa často používa v systémoch ústredného kúrenia a v inštaláciách teplej úžitkovej vody. Jeho výhodou je automatizácia procesu regulácie teploty, čo zvyšuje komfort používania a energetickú efektívnosť systému.
V praxi termostatický zmiešavací trojcestný ventil eliminuje potrebu ručného nastavovania, čo umožňuje stabilnú a bezpečnú prevádzku inštalácie, pričom minimalizuje riziko prehriatia alebo ochladenia média. Ideálnym použitím pre tento typ ventilu sú inštalácie ústredného kúrenia a systémy teplej úžitkovej vody, kde je presné miešanie teplej a studenej vody nevyhnutné pre komfort a bezpečnosť.
Termostatický zmiešavací trojcestný ventil automaticky prispôsobuje pomer miešania podľa meniace sa podmienok, čo zaisťuje stálu teplotu vody na výstupe. Týmto spôsobom minimalizuje riziko náhlych zmien teploty, čo je obzvlášť dôležité v domácich inštaláciách, kde má bezpečnosť používateľov zásadný význam.

Miešacie a rozdeľovacie trojcestné ventily
Miešacie ventily slúžia na miešanie dvoch kvapalín s rôznou teplotou v takom pomere, aby sa z ventilu docielila konkrétna požadovaná výstupná teplota. Trojcestné ventily miešajú z dvoch prívodov do jedného výstupu, čím zmiešavaním znižujú alebo zvyšujú prietok v jednotlivých prívodoch.
Typické použitie týchto ventilov je pre zmiešavanie vykurovacej vody do vykurovacích okruhov (podlahové, stenové vykurovanie, ohrevné telesá), alebo zmiešavanie spiatočky kotlov na tuhé palivo na zamedzenie nízkoteplotnej korózie. Využitie trojcestných zmiešavacích ventilov má veľmi široký rozsah, vrátane centrálnych rozvodov, podlahového vykurovania, solárnych systémov, chladiacich systémov, ventilácie a klimatizácie.
Niektoré typy trojcestných zmiešavacích ventilov môžu byť okrem zmiešavacej funkcie použité aj ako rozdeľovacie kohúty. Pripojenie je riešené pomocou vonkajších alebo vnútorných závitov, existujú aj verzie s prírubovým pripojením.
Uplatnenie trojcestných ventilov
Trojcestné ventily sa používajú v rozvodoch kúrenia a chladenia, pre podlahové vykurovanie, ventiláciu, solárne systémy, centrálne rozvody a ďalšie systémy pitnej aj nepitnej vody. Vďaka svojej univerzálnosti sú neodmysliteľnou súčasťou mnohých moderných inštalácií.
Príklady použitia:
- Inštalácia zmäkčovačov vody, kde obtokový bypass výrazne šterí čas.
- Regulácia zariadení na úpravu vzduchu vo vodných okruhoch.
- Regulácia vykurovacích systémov.
- Použitie s tepelnými čerpadlami a solárnymi ohrevmi k bazénom, kde umožňujú prispôsobiť prietok.
- Vykurovacie a chladiace systémy, kde sú vhodné na použitie s pohonmi Siemens SSC a SAS.
- Príslušenstvo k čerpadlám, napr. pre čerpacie stanice odpadovej vody.
- Rozdeľovanie jedného zdroja vody na tri prípojky s nezávislými regulačnými ventilmi (kohútikové ventily).
- Systémy, kde je potrebné zabrániť nadmernému chladeniu a tvorbe kondenzácie vo fancoile.
Ventily je možné ovládať tromi spôsobmi: manuálne pomocou kolieska so stupnicou, termostatickou patrónou, alebo servopohonom, na ktorého namontovanie je však potrebný správny adaptér. Všetky hlavné súčasti zmiešavacích ventilov je možné ľahko vymeniť, avšak odporúča sa pred ventil nainštalovať vhodný filter.

tags: #trojcestny #ventil #ku #snimacu