Dymovod je potrubie alebo systém potrubí, ktorého úlohou je odvádzať spaliny spotrebiča do komína. Rozhodujúci faktor pri výbere materiálu pre dymovod je teplota spalín odchádzajúcich zo spotrebiča. Pre napojenie krbových vložiek a krbových kachlí do komína, kde je vyššia teplota spalín (približne 300°C), odporúčame použiť žiaruvzdorné nerezové dymovody alebo kvalitné hrubostenné oceľové dymovody.
Výber materiálu a parametre dymovodov
Nie každá trieda nerezovej ocele je vhodná pre napojenie spotrebičov vykurovaných drevom. Pre tento účel odporúčame žiaruvzdorné nerezové dymovody s hrúbkou 1mm a tepelnou odolnosťou 600°C. Musí na nich byť uvedený výrobca, materiál, tepelná odolnosť a tiež to, že výrobok má certifikát o zhode CE.
Alternatívou sú kvalitné hrubostenné oceľové dymovody, ktoré musia byť tesné a ktoré dokážu plnohodnotne nahradiť žiaruvzdorné nerezové dymovody. Firma Darco ponúka oceľové dymovody, ktoré majú povrchovú úpravu z ekologického laku Senothem UHT (Non-Smoker®). Farba Senotherm UHT neemituje žiadny dym, ani nepríjemný zápach. Tepelná odolnosť dymovodov Darco je 600°C.

Označenia a triedy dymovodov
Pri výbere dymovodu sa stretnete s rôznymi označeniami, ktoré informujú o jeho vlastnostiach:
- T600 - označenie teplotnej triedy, t.j. pre akú teplotu je dymovod určený.
- N1 - označenie, akým spôsobom sú odvádzané spaliny. Dymovody označené N1 a N2 odvádzajú spaliny prirodzeným ťahom.
- D - označenie pre odolnosť konštrukcie dymovodu. Písmeno D označuje, že dymovod je určený pre suchú prevádzku - pre vyššiu teplotu spalín (nad 160°C), kde sa kondenzát prakticky nevyskytuje.
- Vm - L01200 - označenie odolnosti voči korózii a triedy materiálu z akého je dymovod vyrobený. L01200 je oceľový plech.
- G - označenie pre odolnosť voči vyhoreniu sadzí. Dymovody, ktoré sú odolné voči vyhoreniu sadzí sú označené písmenom G (tie, ktoré nie sú odolné voči vyhoreniu sadzí sa označujú písmenom O). Teplota horenia sadzí je približne 1000°C.
- Číslo za písmenom G (v našom príklade G450) - označuje minimálnu vzdialenosť od horľavých materiálov v mm (v našom príklade majú byť horľavé materiály vo vzdialenosti najmenej 450 mm od dymovodu).
Význam CE certifikátu
- CE certifikát potvrdzuje, že dymovod spĺňa prísne európske normy týkajúce sa bezpečnosti, ochrany zdravia a životného prostredia.
- Pre mnohé výrobky, vrátane dymovodov, je označenie CE povinné pri ich uvádzaní na trh v rámci Európskej únie.
- Označenie CE zvyšuje dôveru spotrebiteľov v kvalitu a bezpečnosť výrobku.
Pri výbere dymovodu je preto nevyhnutné overiť, či má výrobok platný CE certifikát.
Riešenie problému kondenzátu v dymovode
Kondenzát v dymovode vzniká, keď sa vodná para obsiahnutá v spalinách ochladí a skvapalní na vnútorných stenách dymovodu. Tento jav môže viesť k viacerým problémom, ako je korózia dymovodu, zníženie jeho životnosti či nepríjemný zápach.

Metódy minimalizácie tvorby kondenzátu
- Správne zapojenie dymovodu: Dymovod by mal byť inštalovaný s miernym stúpaním smerom ku komínu.
- Používanie suchého paliva: Vlhké drevo alebo iné nevhodné palivá obsahujú viac vody, čo zvyšuje pravdepodobnosť kondenzácie.
- Správny priemer dymovodu: Ak je priemer dymovodu príliš veľký, spaliny sa môžu rýchlejšie ochladzovať, čo vedie k tvorbe kondenzátu.
- Inštalácia antikondenzačného nadstavca: Antikondenzačný nadstavec zachytáva kondenzát.
- Pravidelná údržba a čistenie: Pravidelné čistenie dymovodu a komína od sadzí a dechtu zabraňuje ich hromadeniu, čo môže prispieť k zníženiu kondenzácie.
Určenie správneho priemeru dymovodu
Pri výbere správneho priemeru dymovodu pre váš komín je kľúčové zohľadniť priemer výstupu spalín z vášho vykurovacieho zariadenia. Výrobcovia kotlov, kachlí či krbových vložiek navrhujú vyústenie dymovodu tak, aby zabezpečili optimálny odvod spalín vzhľadom na výkon zariadenia. Preto by priemer komína mal byť minimálne rovnaký ako priemer výstupu spotrebiča.
Vo všeobecnosti platí, že pre rodinné domy s bežnými požiadavkami na výrobu tepla sa priemer komína pohybuje medzi 160 až 200 mm. Priemer dymovodu by nemal byť menší ako priemer výstupu z vykurovacieho zariadenia.

Nerezové a oceľové dymovody: porovnanie
Nerezové dymovody sú vyrobené z nehrdzavejúcej ocele a často označované ako tenkostenné. Pri rozhodovaní medzi týmito dvoma typmi dymovodov je dôležité zvážiť špecifiká vášho vykurovacieho systému, očakávanú životnosť a rozpočet.
Oceľový dymovod by mal mať hrúbku steny aspoň 2 mm, pretože táto hrúbka zabezpečuje väčšiu odolnosť, znižuje riziko prehrdzavenia a predlžuje životnosť celej zostavy dymovodov. Tenkostenné dymovody môžu ľahko podliehať korózii a zhoršiť výkon dymovodu, čo môže znížiť bezpečnosť celého systému.
Spôsoby zapojenia dymovodu
Rozlišujeme dva hlavné spôsoby zapojenia dymovodu: "po vode" a "po dyme".
Zapojenie dymovodu po vode
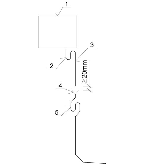
Zapojenie dymovodu po vode spočíva v tom, že kondenzát, ktorý sa môže vytvárať v komíne a dymovode, je vedený naspäť do spotrebiča, kde sa odparí. Dymovod sa zapája zúženou časťou nadol (smerom k spotrebiču), a teda kondenzát nevyteká mimo dymovod. Na hrdlo spotrebiča sa dáva antikondenzačný nadstavec.
Niektoré spotrebiče sú konštruované tak, že postačuje napojenie dymovodu zúženou časťou do hrdla spotrebiča bez použitia akéhokoľvek adaptéra (nadstavca). Predpokladajme, že náš spotrebič nie je takto konštruovaný (obr. 2). Na hrdlo spotrebiča sa umiestňuje antikondenzačný nadstavec (obr. 3 a 4). Po jeho umiestnení dosiahneme to, že kondenzát bude stekať priamo do vnútra spotrebiča (obr. 5).
Ďalšie časti dymovodu sú vždy nasúvané zúženým koncom v smere spotrebiča, aby sme sa vyhli možnému vytekaniu kondenzátu v ktoromkoľvek mieste dymovodu (obr. 6).
Pri komíne je nutné použitie redukcie, ktorá sa z jednej strany nasadí na vrch šamotového sopúcha a z druhej strany vojde do vnútra ďalšieho dielu dymovodu (obr. 7). Pokiaľ to situácia vyžaduje, okolie redukcie sa utesní žiaruvzdornou šnúrou (obr.).

Zapojenie dymovodu po dyme
Pokiaľ je teplota spalín zo spotrebiča dostatočne vysoká (cca 300°C a viac) a nehrozí riziko kondenzácie, môžeme dymovody zapojiť „po dyme“. Zapojenie dymovodu po dyme sa používa častejšie. Dôvodom je aj to, že väčšina spotrebičov nie je prispôsobená pre napojenie dymovej rúry zúženou časťou na spotrebič. Toto sa dá vyriešiť antikondenzačným nadstavcom, ale veľa ľudí o tom nevie.
Nevýhodou tohto spôsobu napojenia je možný únik kondenzátu cez spoj dymovodu.
Napojenie dymovodu na komín
Spôsob napojenia dymovodu na komín závisí od typu komína.
Napojenie na murovaný komín
Pokiaľ máme murovaný komín, treba do steny komína urobiť otvor a zamurovať komínovú zder. Po jej zamurovaní sa inštaluje dymovod v smere od spotrebiča „po dyme“.
Napojenie na keramický komín
Pokiaľ máte keramický komín (so šamotovými vložkami), napojeniu na komín venujte zvýšenú pozornosť. Dymovod sa nikdy nesmie napojiť do keramického komína bez dilatačného materiálu, t.j. nesmie sa zasunúť do vnútra sopúcha tak, že pri roztiahnutí dymovodu (vplyvom tepla) praskne sopúch.
Pre napojenie dymovodu do komína je najlepším riešením vonkajšia prechodka. Táto absolútne eliminuje riziko prasknutia šamotovej komínovej vložky. Ďalšou voľbou je možnosť použitia vnútornej prechodky s tesniacou šnúrou.

Ďalšie dôležité aspekty pri inštalácii dymovodu
- Dymovod by mal byť čo najkratší.
- Dymovod by nikdy nemal smerom k sopúchu klesať alebo byť v rovine.
- Priemer hrdla na výstupe spalín zo spotrebiča by mal byť rovnaký ako je vnútorný priemer komína.
- V prípade odlišného priemeru dymovodu a komína je potrebné použiť redukciu. Odporúčame však dymovod redukovať maximálne o 30 mm.
Komínová klapka
Niektoré spotrebiče majú z výroby zabudovanú komínovú klapku, niektoré ju však nemajú. O použití komínovej klapky rozhoduje komínový ťah.
Pri nových komínoch s dobrým ťahom odporúčame použitie komínovej klapky. Pri starších komínoch alebo redukovaných dymovodoch s nižším komínovým ťahom je použitie klapky zbytočné.
Pokiaľ nevieme zhodnotiť, aký máme komínový ťah, odporúčame klapku namontovať. Pri slabom ťahu a nepriaznivých poveternostných vplyvoch môže ostať komínová klapka otvorená, čo je lepšie riešenie ako demontovať obostavbu krbu a následne inštalovať komínovú klapku.

Časté chyby pri inštalácii dymovodu
Pri inštalácii dymovodu sa často vyskytujú chyby, ktoré môžu ovplyvniť bezpečnosť a účinnosť vykurovacieho systému:
- Nesprávny výber materiálu dymovodu: Použitie materiálov, ktoré nie sú odolné voči vysokým teplotám spalín, môže viesť k ich poškodeniu.
- Nedostatočná vzdialenosť od horľavých materiálov: Nedodržanie minimálnej vzdialenosti medzi dymovodom a horľavými konštrukciami môže zvýšiť riziko požiaru.
- Nesprávne zaústenie dymovodu do sopúcha: Priamo sa zaústi čierna dymovodová rúra do šamotového sopúcha s nedostatočnou medzerou, dilatáciou a dôjde k prasknutiu sopúcha.
- Nesprávne napojenie "po dyme" pri nízkych teplotách spalín: Môže viesť k vytekaniu vody alebo dechtu zo sopúcha.
Legislatíva a normy pre dymovody na Slovensku
Pri montáži dymovodov na Slovensku je nevyhnutné dodržiavať platné normy a predpisy, ktoré zabezpečujú bezpečnosť a správnu funkčnosť vykurovacích systémov:
- Vyhláška Ministerstva vnútra SR č. 401/2007 Z. z. Táto vyhláška ustanovuje technické podmienky a požiadavky protipožiarnej bezpečnosti pri inštalácii a prevádzkovaní palivových spotrebičov, ako aj pri výstavbe a používaní komínov a dymovodov.
- STN EN 1443: Táto európska norma, prijatá ako slovenská technická norma, sa zaoberá navrhovaním, montážou a uvedením do prevádzky komínov a dymovodov pre otvorené spotrebiče.
- STN EN 1856-1 a STN EN 1856-2: Tieto normy stanovujú požiadavky na navrhovanie, výstavbu a prevádzku komínov a dymovodov.
Dodržiavanie uvedených noriem a predpisov je nevyhnutné pre bezpečnú a efektívnu prevádzku vykurovacích systémov.
Údržba a čistenie dymovodu
Zabezpečenie bezpečnosti vášho dymovodu je kľúčové pre správnu a bezpečnú prevádzku vykurovacieho systému.
Pravidelná údržba
- Viditeľné dymovody: Ak je dymovod prístupný, mal by byť navrhnutý tak, aby sa dal jednoducho rozobrať.
- Čistenie: Vyhláška Ministerstva vnútra nariaďuje čistenie pre spotrebiče na pevné palivá s výkonom do 50kW každé 4 mesiace.
- Kontrola tesnosti a stability: Používanie upevňovacej objímky zabraňuje samovoľnému vysunutiu dymovodu zo sopúcha. Pre dymovod s dĺžkou nad 2m sa jej použitie vyžaduje.

Zvýšenie stability dymovodu
Pre zvýšenie stability dymovodu sa používa upevňovacia objímka. Objímka zabraňuje samovoľnému vysunutiu dymovodu zo sopúcha. Pre dymovod s dĺžkou nad 2m sa jej použitie vyžaduje (Vyhláška Ministerstva vnútra č. 401/2007 Z. z.).
Životnosť dymovodu
Životnosť dymovodu závisí od viacerých faktorov, vrátane materiálu, hrúbky stien, spôsobu používania a pravidelnej údržby.
Pravidelné čistenie je nevyhnutné na predchádzanie hromadeniu sadzí a dechtu, ktoré môžu viesť k požiaru alebo zníženiu účinnosti vykurovacieho systému.
Výmenníky tepla pre kachle na drevo
Výmenníky tepla pre kachle na drevo sa používajú na obnovenie teploty spalín. Výmenník tepla odoberá zvyškové teplo zo spalín odchádzajúcich z dymovodu a odovzdáva ho vybranému vykurovanému interiéru. Tým sa zvýši účinnosť vykurovania, čím sa znížia náklady na vykurovanie.
Výmenníky tepla sú určené pre všetky typy kachlí, krbov, sporákov. Pripájajú sa k dymovodu kachlí a zvyšujú tak vykurovaciu plochu, výkon a účinnosť kachlí.
Princíp fungovania výmenníka tepla
Spaliny odchádzajú z kachlí pri teplote približne 280 °C - 380 °C. Tieto spaliny zvyčajne odchádzajú priamo komínom, ale s výmenníkom tepla ich môžete zadržať a získať z nich ešte viac tepla. Výmenník tepla má v sebe prieduchy, ktoré zväčšujú vykurovaciu plochu pre vyššiu účinnosť.
Výber a umiestnenie výmenníka tepla
Pred kúpou výmenníka tepla je dôležité zmerať teplotu spalín v mieste, kde ho chcete umiestniť. Teplota spalín by mala byť najmenej 150 °C.
Výmenník tepla by mal byť umiestnený čo najbližšie k sporáku, najlepšie priamo na ňom. Ďalej umiestnite dymovod s klapkou, aby ste mohli regulovať výstup spalín z výmenníka tepla, a tým aj jeho výkon (teplotu). Výmenník môže byť umiestnený vo vertikálnej alebo horizontálnej polohe.
Priemer potrubia, na ktoré sa bude výmenník tepla montovať, je tiež dôležitý. Jedna strana výmenníka je zúžená, čo uľahčuje inštaláciu.

Dymovod vo vykurovaní: základné informácie
Dymovod vo vykurovaní je systém potrubia a komponentov, ktorý slúži na odvod spalín z tepelného zariadenia (napríklad plynového kotla, pece alebo krbu) do vonkajšieho prostredia. Dymovod je zvyčajne vyrobený z odolných materiálov, ako je nerezová oceľ, keramika alebo špeciálne vyrobené dymovodné rúry.
Dymovody vo vykurovaní musia byť správne dimenzované a inštalované tak, aby zabezpečili dostatočný ťah, teda schopnosť odvádzať spaliny a dym účinne von z priestoru. Pravidelná údržba dymovodu, vrátane čistenia a kontroly tesnosti, je nevyhnutná pre bezpečnú prevádzku.
tags: #vykurovanie #pomocou #dymovodu