Správne chladenie auta je jedným z kľúčových faktorov, ktoré rozhodujú o životnosti a spoľahlivosti motora. Každý vodič vie, že motor počas jazdy produkuje obrovské množstvo tepla, ktoré je potrebné efektívne odvádzať.
Funkcia a komponenty chladiaceho systému
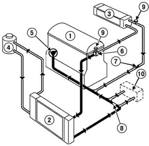
Na efektívne odvádzanie tepla slúži zložitý systém pozostávajúci z viacerých komponentov. Úlohou chladenia je udržiavať motor v optimálnej prevádzkovej teplote. Príliš vysoká teplota môže viesť k vážnemu poškodeniu motora, zatiaľ čo príliš nízka ovplyvňuje jeho výkon a spotrebu paliva.
Kľúčové komponenty chladiaceho systému:
- Chladiče: Hlavná súčasť systému - odvádza teplo z chladiacej kvapaliny.
- Hadice: Prenášajú chladiacu kvapalinu medzi jednotlivými časťami systému.
- Ventilátory: Pomáhajú pri chladení, najmä pri nízkych rýchlostiach alebo v stacionárnom stave.
- Čerpadlá (vodné čerpadlo): Cirkulujú chladiacu kvapalinu systémom.
- Termostaty: Regulujú teplotu motora tým, že otvára alebo zatvára prietok chladiacej kvapaliny.

Chladiaca kvapalina a jej význam
Nemrznúca chladiaca kvapalina zabezpečuje optimálnu teplotu motora a chráni chladiaci systém pred koróziou a zamrznutím.
Moderné riadenie chladiaceho systému
Moderné vozidlá využívajú elektronické riadiace jednotky, ktoré monitorujú a regulujú činnosť celého chladiaceho systému. Tieto elektronické prvky regulujú činnosť ventilátora, čerpadla a ďalších súčastí pre maximálnu efektivitu a ochranu motora.

Výber a údržba dielov chladenia
Pri výbere dielov chladenia sa riaďte odporúčaniami výrobcu.
Odporúčaná údržba a intervaly výmeny:
- Nemrznúcu kvapalinu je vhodné meniť každé 2 - 3 roky.
- Vodné čerpadlo a termostat majú životnosť približne 80 - 120 tisíc km.
- Hadice a tesnenia je potrebné sledovať vizuálne - pri známkach opotrebovania je nutná okamžitá výmena.
Používajte len kvalitné kvapaliny, pravidelne kontrolujte stav hadíc a tesnení, a včas meňte termostat či vodné čerpadlo.
Kontrola chladici kapaliny | Hyundai
Chladenie je neodmysliteľnou súčasťou každého auta a jeho správne fungovanie je zárukou dlhej životnosti motora. Investícia do kvalitných dielov, ako sú chladiče, čerpadlá či termostaty, sa vám vždy vráti vo forme spoľahlivého a úsporného chodu vozidla.