Peugeot Partner 2008 s motorom 1.6 HDi je obľúbeným vozidlom, no ako každé auto, aj toto sa môže stretnúť s problémami, najmä v oblasti chladiaceho systému a klimatizácie. V tomto článku sa zameriame na možné príčiny, diagnostiku a riešenia týchto problémov.
Možné problémy s chladením
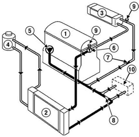
Problémy s chladením môžu mať viacero príčin. Medzi najčastejšie patria:
- Únik chladiacej kvapaliny: Tento problém môže byť spôsobený poškodenými hadicami, prasknutým chladičom alebo netesnosťami v celom systéme.
- Porucha termostatu: Nefunkčný termostat môže viesť k prehrievaniu motora alebo k nedostatočnému zahrievaniu.
- Problémy s vodným čerpadlom: Ak vodné čerpadlo nepracuje správne, efektívnosť chladenia motora klesá, čo môže spôsobiť prehrievanie.
- Blokovanie chladiča: Znečistený alebo upchatý chladič znižuje jeho schopnosť efektívne chladiť motor.

Diagnostika problémov
Pri podozrení na problém s chladením je dôležité vykonať diagnostiku čo najskôr. Odporúčané kroky sú:
- Kontrola hladiny chladiacej kvapaliny: Uistite sa, že hladina kvapaliny je v norme. Nízka hladina môže signalizovať únik.
- Hľadanie únikov: Skontrolujte hadice a chladič na známky únikov. Na identifikáciu únikov môžete použiť špeciálnu detekčnú kvapalinu.
- Testovanie termostatu: Overte, či sa termostat správne otvára a zatvára počas chodu motora.
- Kontrola vodného čerpadla: Uistite sa, že vodné čerpadlo funguje správne. Venujte pozornosť možným zvukom alebo prítomnosti únikov v jeho okolí.
V prípade problémov s chladením sa môže objaviť aj problém s klimatizáciou, ako napríklad nefunkčný kompresor. Po pripojení vozidla na diagnostiku môže BSI jednotka vypisovať chybu typu "Prechodná závada: Výstup; povolenie zapnutia kompresoru klimatizácie - Skrat na plus pól". Dôkladná kontrola konektora kompresora je v takomto prípade nevyhnutná.
Riešenia problémov s chladením
Po diagnostikovaní problému s chladením je dôležité pristúpiť k jeho riešeniu:
- Oprava únikov: V prípade nájdenia únikov je potrebné ich okamžite opraviť, čo môže zahŕňať výmenu poškodených hadíc alebo celého chladiča.
- Výmena termostatu: Ak je termostat chybný, jeho výmena problém s chladením vyrieši.
- Výmena vodného čerpadla: Nefunkčné vodné čerpadlo je potrebné vymeniť, aby sa zabezpečilo správne chladenie motora.
- Čistenie chladiča: Pravidelné čistenie chladiča zabraňuje jeho upchatiu a zlepšuje účinnosť chladenia.
Diagnostické nástroje a softvér
Pre komplexnú diagnostiku vozidiel Peugeot, Citroen a Opel je k dispozícii špecializovaný diagnostický softvér a nástroje.
Profesionálne diagnostické nástroje
Launch X431 PRO3S+ ELITE je nezávislé dielenského zariadenie s 10,1" dotykovým displejom a odolným puzdrom. Vybavený batériou s kapacitou 13000 mAh a poháňaný systémom Android 10, umožňuje bezdrôtovú diagnostiku cez Bluetooth. Disponuje 4 GB RAM a 64 GB úložiskom. Najnovší model je vybavený hlavicou SMARTLINK V2.0 s podporou protokolov ako CAN FD a DoIP, čo zaisťuje dlhodobú použiteľnosť bez nutnosti výmeny hardvéru. Tester podporuje viac ako 10 000 modelov automobilov a ponúka funkcie ako programovanie kľúčov IMMO, adaptácie komponentov a asistenti.
Diagbox 9.200 je najnovšia verzia diagnostického softvéru pre vozidlá Peugeot, Citroen, DS, nové modely PSA Opel a Fengshen. Ide o náhradu starších programov Lexia a PP2000. Sada obsahuje diagnostickú hlavicu, káble, redukciu na staršie vozidlá a samotný softvér. Podporuje autá do 10/2024.
Vgate iCar 2 Bluetooth je diagnostika pre OBD II, ktorá funguje s iPhone, Android a PC. Po pripojení do OBD II portu a spárovaní cez Bluetooth umožňuje čítať a mazať chyby, ako aj získavať informácie o vozidle cez bezplatné aplikácie ako Torque alebo Car Scanner ELM OBD2. Využíva čip ARM pre rýchlejšiu a spoľahlivejšiu komunikáciu.
MPPS V22 Master ECU Reader/Programmer je nástroj na čítanie a zápis dát z riadiacich jednotiek (ECU) cez OBD2.
Opcom je ďalší diagnostický nástroj, ktorý podporuje veľké množstvo riadiacich jednotiek vrátane motora, prevodoviek, ABS, airbagov, chladenia motora a prístrojovej dosky.
Funkcia programátora kľúčov LAUNCH X431
Špecializované adaptéry
Pre niektoré modely vozidiel, ako napríklad Peugeot Bipper, Peugeot Boxer III, Citroen Nemo alebo Citroen Jumper III, je potrebný špeciálny adaptér S.1279 (alebo prevodník s.1279 / 9780.X4) pre správnu komunikáciu s diagnostikou Lexia 3.
Ďalšie možné problémy a riešenia
V niektorých prípadoch sa môžu vyskytnúť aj menej bežné problémy:
- Vypínanie motora za jazdy: V prípade Peugeot Partner 1.6 HDi môže dôjsť k neočakávanému vypínaniu motora. Dôvodom môže byť prepálená poistka riadiacej jednotky motora, zanesené palivové filtre, problém s ukostrením, alebo dokonca nedostatok oleja v prevodovke. V extrémnych prípadoch môže byť problémom znečistené celé vstrekovanie paliva až po nádrž.
- Problémy s riadiacou jednotkou (ECU): Ak sa diagnostikou nenájde zjavná príčina, môže byť problém v riadiacej jednotke motora.
Pri výbere diagnostiky je dôležité zvážiť kompatibilitu so staršími aj novšími vozidlami a zvoliť spoľahlivý softvér, aby sa predišlo problémom s inštaláciou alebo nesprávnou funkčnosťou.

Prevencia problémov s chladením
Prevencia je kľúčová pre dlhodobú spoľahlivosť vozidla:
- Pravidelná údržba: Vykonávajte pravidelné kontroly chladiaceho systému, vrátane hladiny kvapaliny a stavu hadíc.
- Včasná výmena chladiacej kvapaliny: Chladiaca kvapalina by sa mala pravidelne meniť, aby sa predišlo jej znečisteniu a degradácii.
- Kontrola pred dlhými cestami: Pred dlhšími cestami je vhodné skontrolovať stav chladiaceho systému.