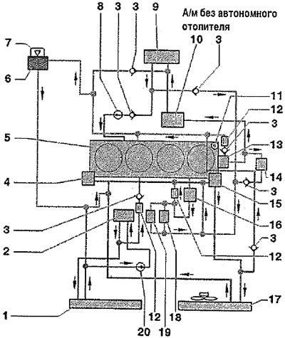
Termostat je kľúčovou súčasťou chladiaceho systému vozidla, ktorej úlohou je regulovať prietok chladiacej kvapaliny v motore medzi malým a veľkým okruhom. Jeho správna funkcia je nevyhnutná pre udržanie motora v optimálnom teplotnom rozsahu, čo ovplyvňuje výkon, spotrebu paliva aj životnosť agregátu.

Ako funguje termostat a prečo je dôležitý
Po naštartovaní vozidla je termostat v uzavretej polohe. Kvapalina cirkuluje v malom okruhu, obchádza chladič, aby sa motor čo najrýchlejšie zohrial na prevádzkovú teplotu. Keď kvapalina dosiahne približne 90 °C, termostat sa otvorí, čím aktivuje veľký okruh. Horúca kvapalina následne prúdi do chladiča, kde sa ochladí, a vracia sa späť do motora.
Základom termostatu je vosková kapsula, ktorá reaguje na zmenu teploty. Pri zahrievaní sa vosk rozpína a tlačí na ventil, čím ho otvára. Ak termostat nefunguje správne, môže to viesť k vážnym problémom, ako je prehrievanie motora alebo naopak, jeho podchladenie, čo sa často prejavuje zvýšenou spotrebou paliva.
Typické prejavy poruchy termostatu v Octavii 1
Najčastejšími poruchami sú zablokovanie termostatu v otvorenej alebo zatvorenej polohe:
- Zablokovanie v otvorenej polohe: Motor sa zohrieva veľmi pomaly alebo nedosiahne prevádzkovú teplotu (ukazovateľ teploty drží nízko, najmä pri jazde). Dôsledkom je vyššia spotreba paliva a znížený tepelný komfort v kabíne.
- Zablokovanie v zatvorenej polohe: Kvapalina cirkuluje len v malom okruhu a teplota neustále stúpa. Toto je pre motor nebezpečné, pretože môže viesť k prehriatiu, dymeniu z pod kapoty a v krajnom prípade až k zadretiu motora.

Diagnostika: Ako skontrolovať termostat?
Ak máte podozrenie na chybný termostat, existuje jednoduchý spôsob overenia:
- Demontáž: Termostat vyberte z puzdra (zvyčajne sa nachádza v hornej časti hlavy motora).
- Test vo vode: Vložte ho do nádoby s vodou a ohrievajte. Funkčný termostat by sa mal pri dosiahnutí určitej teploty otvoriť. Po vložení do studenej vody by sa mal opäť uzavrieť.
Upozornenie: Vždy pracujte na vychladnutom motore, aby ste predišli popáleniu horúcou kvapalinou.
Postup výmeny termostatu
Výmena termostatu nie je technicky extrémne náročná, ak máte základné vybavenie a znalosti:
- Vypustite časť chladiacej kvapaliny.
- Odskrutkujte kryt puzdra termostatu.
- Vyberte starý termostat a dôkladne vyčistite sedlo od nečistôt.
- Nainštalujte nový termostat s novým tesnením. Dbajte na správny smer montáže podľa prúdenia kvapaliny.
- Doplňte čerstvú chladiacu kvapalinu a odvzdušnite systém.
Ak si na výmenu netrúfate, v autoservise sa cena práce pohybuje zvyčajne v rozmedzí 20 - 70 eur plus cena náhradného dielu.
Výměna termostatu Škoda Octavia 1.9.TDI
Ďalšie príčiny problémov s chladením a vykurovaním
Problémy s teplotou motora alebo kúrením v kabíne nemusia vždy znamenať chybný termostat. Skontrolujte aj tieto faktory:
| Príčina | Prejav | Riešenie |
|---|---|---|
| Nedostatok kvapaliny | Slabé kúrenie, prehrievanie | Doplnenie, kontrola netesností |
| Poškodená vodná pumpa | Cirkulácia neprebieha, hluk | Výmena vodnej pumpy |
| Zanesený radiátor kúrenia | Slabý prúd tepla do kabíny | Preplach alebo výmena |
| Zanesený kabínový filter | Slabé prúdenie vzduchu | Výmena filtra |
Pri výmene chladiacej kvapaliny vždy dbajte na správny pomer koncentrátu a destilovanej vody podľa odporúčania výrobcu. Použitie nekvalitnej zmesi môže viesť k usadzovaniu nečistôt a korózii, čo následne poškodzuje vodnú pumpu aj termostat.